Время работы:

ПН-ПТ 10:00 - 19:00
СБ-ВС выходной

Каталог товаров

Электроводонагреватель проточный ЭПВН - 18

Артикул: НС-0030849
(0)
Проточный электроводонагреватель ЭПВН класса «СТАНДАРТ-ЭКОНОМ» предназначен для приготовления горячей воды в частных домах, коттеджах, социальных и коммерческих объектах.
Доставка по России любой ТК (транспортной компанией)
Все товары сертифицированы
Основные характеристики
Производитель
Страна производитель
Россия
Напряжение, В
380
Давление срабатывания датчика максимального давления
7,5 МПа
Испытательное давление
12 атм
КПД
93%
Максимальная температура в точке водозабора
75 ±5°С
Минимальное допустимое давление на входе
0,5 атм
Производительность (при Δt = 35°С)
450 л/ч
Рабочее давление воды
6 атм
Разница температур между входом и выходом
35°С
Сечение жилы питающего кабеля
6 мм²
Температура срабатывания аварийного датчика
85 ±2°С
Габариты, мм
350х330х660
Вес, кг
20
Гарантия
1 год

Особенности

  • Возможность создания полностью автономной или резервной системы горячего водоснабжения
  • Мгновенный нагрев воды
  • Экономичность. Расход электроэнергии происходит при нагреве используемой воды
  • Простота монтажа, управления и технического обслуживания
  • Экологически чистое двухстороннее покрытие емкости нагрева
  • Три уровня безопасности
  • Гарантия надежной работы при изменении напряжения питающей сети ±10% от номинального значения
  • ТЭНы из нержавеющей стали обеспечивают долговечность приборов
  • Электроводонагреватели проточные серии "ЭПВН" предназначены для горячего водоснабжения жилых, бытовых, производственных, сельскохозяйственных помещений в качестве основного или резервного источника горячей воды

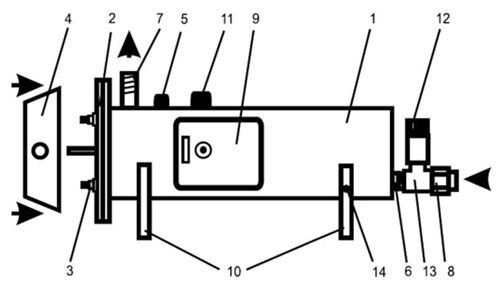
Устройство водонагревателя

  1. корпус
  2. крышка
  3. ТЭН (один - ЭПВН 7 или три - ЭПВН 9,45-30)
  4. защитный кожух ТЭН
  5. датчик терморегулятора
  6. входной патрубок
  7. выходной патрубок
  8. обратный клапан
  9. пульт управления
  10. опоры водонагревателя
  11. аварийный термовыключатель
  12. предохранительный клапан
  13. тройник
  14. зажим заземления

Электроводонагреватель проточный ЭПВН - 18 в продаже по цене 0 руб. в Интернет-магазине Проф-инструмент с доставкой в Новосибирске. Звоните по телефону +8 (800) 302-10-51.

Похожие товары
Артикул: НС-0030850
Проточный электроводонагреватель ЭПВН класса «СТАНДАРТ-ЭКОНОМ» предназначен для приготовления горячей воды в частных домах, коттеджах, социальных и коммерческих объектах.
Не указана цена за 1